Автор Тема: AZG - Общие вопросы  (Прочитано 772238 раз)

0 Пользователей и 2 Гостей просматривают эту тему.

Оффлайн AZG Автор темы

  • Живу на форуме
  • *******
  • Сообщений: 95569
  • Санкт-Петербург
    • AZG CUSTOM
Re: AZG
« Ответ #9060 : Октября 07, 2010, 15:57:25 »
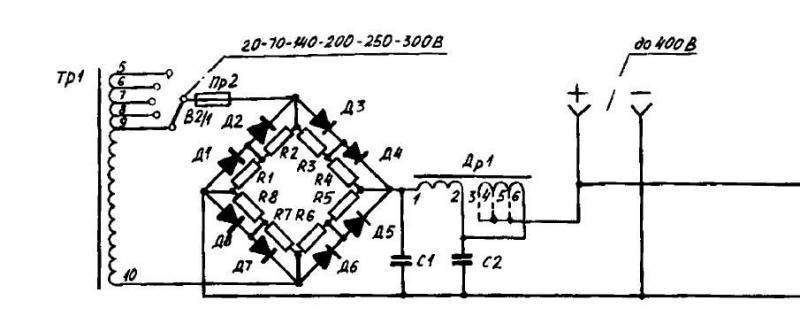
Оба пойдут. 10 генри конечно получше будет. И не забудь компенсационную обмотку грамотно подключить.

Оффлайн KurtOchka

  • Опытный
  • ****
  • Сообщений: 710
    • Реконструкция и строительство
Re: AZG
« Ответ #9061 : Октября 07, 2010, 16:05:45 »
Оба пойдут. 10 генри конечно получше будет. И не забудь компенсационную обмотку грамотно подключить.
Купил то что на 10генри, два штуки по 5$ в складской упаковке.
А как ее грамотно подключить? А то я в этом вопросе не компетентен. Заранее благодарен.

301195-0
« Последнее редактирование: Октября 07, 2010, 16:26:50 от KurtOchka »

Оффлайн AZG Автор темы

  • Живу на форуме
  • *******
  • Сообщений: 95569
  • Санкт-Петербург
    • AZG CUSTOM
Re: AZG
« Ответ #9062 : Октября 07, 2010, 16:28:01 »
KurtOchka, почитай статьи... Там встречно с конденсатором на землю.

Оффлайн KurtOchka

  • Опытный
  • ****
  • Сообщений: 710
    • Реконструкция и строительство
Re: AZG
« Ответ #9063 : Октября 07, 2010, 16:33:43 »
А просто в розрыв анодки подключить к выводам 1-2 нельзя так (как бы в месе у дросселей просто два вывода и все)?

Оффлайн AZG Автор темы

  • Живу на форуме
  • *******
  • Сообщений: 95569
  • Санкт-Петербург
    • AZG CUSTOM
Re: AZG
« Ответ #9064 : Октября 07, 2010, 16:41:24 »
KurtOchka, Нельзя, такой дроссель влетит в насыщение. Нет немагнитного зазора.

Оффлайн KurtOchka

  • Опытный
  • ****
  • Сообщений: 710
    • Реконструкция и строительство
Re: AZG
« Ответ #9065 : Октября 07, 2010, 16:48:35 »
Блин купил, а теперь голова пухнет как его подключить, в инете нечего подходящего по моей теме не могу найти.

Оффлайн AZG Автор темы

  • Живу на форуме
  • *******
  • Сообщений: 95569
  • Санкт-Петербург
    • AZG CUSTOM
Re: AZG
« Ответ #9066 : Октября 07, 2010, 16:53:21 »
Встречно. На вывод соединения конденсатор 10 мкФ на землю.

Оффлайн KurtOchka

  • Опытный
  • ****
  • Сообщений: 710
    • Реконструкция и строительство
Re: AZG
« Ответ #9067 : Октября 07, 2010, 16:57:22 »
AZG пожалуйста нарисуй в пейне или напиши как мне подключить так как должно быть, я понимаю что у тебя нету времени, но чувствую себя тапком.  :pozor:
301211-0
« Последнее редактирование: Октября 07, 2010, 17:04:39 от KurtOchka »

Оффлайн AZG Автор темы

  • Живу на форуме
  • *******
  • Сообщений: 95569
  • Санкт-Петербург
    • AZG CUSTOM
Re: AZG
« Ответ #9068 : Октября 07, 2010, 17:11:35 »
1-2 надо наоборот

Оффлайн EV!L

  • Частый посетитель
  • **
  • Сообщений: 245
Re: AZG
« Ответ #9069 : Октября 07, 2010, 17:13:28 »
добрый вечер. можно ли как то оформить заказ на ваш аппарат?? а то в личку вы не отвечаете

Оффлайн KurtOchka

  • Опытный
  • ****
  • Сообщений: 710
    • Реконструкция и строительство
Re: AZG
« Ответ #9070 : Октября 07, 2010, 17:17:55 »
Вот так правильно?
Я правильно понимаю что конденсатор 10мкф нужно ещё по правильно как то рассчитать или нет?
« Последнее редактирование: Октября 07, 2010, 17:43:43 от KurtOchka »

Оффлайн AZG Автор темы

  • Живу на форуме
  • *******
  • Сообщений: 95569
  • Санкт-Петербург
    • AZG CUSTOM
Re: AZG
« Ответ #9071 : Октября 07, 2010, 18:14:47 »
добрый вечер. можно ли как то оформить заказ на ваш аппарат?? а то в личку вы не отвечаете

Попозже отвечу. Я же не сутками сижу за компом, естьработа, семья, могу находиться в дороге, общаться с клиентами, обедать и т.п.

... и добавил:

KurtOchka, Да, правильно. Конденсатор надо считать, но для первого запуска и так подойдет.

Оффлайн EV!L

  • Частый посетитель
  • **
  • Сообщений: 245
Re: AZG
« Ответ #9072 : Октября 07, 2010, 18:16:53 »
понял)) прошу прощения за беспокойство)

Оффлайн AZG Автор темы

  • Живу на форуме
  • *******
  • Сообщений: 95569
  • Санкт-Петербург
    • AZG CUSTOM
Re: AZG
« Ответ #9073 : Октября 07, 2010, 18:31:59 »
понял)) прошу прощения за беспокойство)

Без проблем. Скажу тут , ибо многие спрашивают - ЖДУ КОРПУСА. Т.е. этих корпусов нет ни у производителя сборочных компонентов, ни у прямого поставщика gainta.ru. Есть в рознице в три раза дороже, но это не выход. Тем более штучно. Так что в ожидании.

Платы и компоненты есть в полном объеме. Есть некоторое количество собранных плат.

Рекомендую следить за сообщениями в этой теме.

Оффлайн EV!L

  • Частый посетитель
  • **
  • Сообщений: 245
Re: AZG
« Ответ #9074 : Октября 07, 2010, 18:37:22 »
все ясно. ну тогда по возможности напишите в личку как оформить вам заказ или незнаю что то в этом роде,чтобы уже тоже ждать их вместе с вами)))) заранее спасибо