Автор Тема: Гитарная электроника (датчики, распайка,...)  (Прочитано 691523 раз)

0 Пользователей и 2 Гостей просматривают эту тему.

Оффлайн Little Wing

  • Завсегдатай
  • ***
  • Сообщений: 443
  • Make Love, Not War
Подскажите, пожалуйста. Правильно распаиваю бриджевый хамбакер Dimarzio Fred, но он полный и в отсечке почти одинаково фонит. Даже две его катушки немного дают фон. Почему так?
В отличии от Dimarzio Pro Track, который стоит в нэке и вообще не фонит в режиме хамбакера.

Оффлайн sv.dudnik

  • Завсегдатай
  • ***
  • Сообщений: 323
У меня сопротивление нека 7 килоом, а бриджа 14. Тоже фонит поэтому.

Оффлайн Сашенька Ясно Солнышко

  • Новичок
  • *
  • Сообщений: 39
  • Диванный недомузыкант
Приветствую, Уважаемые гитарплейеры!
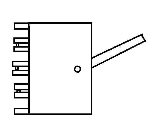
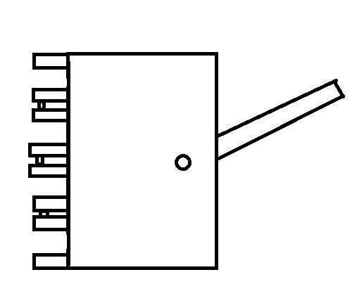
Помогите начинающему, пожалуйста. Имеется вот такой трехпозиционник, крайние две клеммы одинарные, а те шесть, что в середине, замкнуты попарно перемычками. Картинку прилагаю)
Хочу прикрутить к нему сингл и хамб и потенциометр громкости, тон не нужен. Что куда припаивать?
Также хотел бы киллсвитч прикрутить. Для этого имеется двухпозиционный On-On тумблер. Понимаю, что надо разорвать этим тумблером провод от джека гитарного, но с контактами опять беда. Картинка тоже есть во вложении.
Заранее благодарен, всем бобра!


Оффлайн Papa_Ato

  • Новичок
  • *
  • Сообщений: 30
Согласен, но на АЛИ фиг знает что за материал, фиг знает с какой сушкой и т.д.
А проект нацелен на хорошее дерево и дешевым китаем в фурнитуре, с последующей заменой на что-то достойное.
Звучки будут Фокина, скорее всего. А железо из разряда "чтобы было". Либо придется снять на время со своего старого Вашбурна. Нет сразу суммы, к сожалению...
Написал в Инспектор, посмотрим что скажут.
Если интересно, я отпишусь в какую-нибудь флудилку, чтобы тут на оффтопить.
Немного оффтопа: кому то интересно продолжение истории с Испектором? Подскажите в какой раздел написать, чтобы здесь не засирать.

Оффлайн TridenTChili

  • Частый посетитель
  • **
  • Сообщений: 152
Re: Гитарная электроника (датчики, распайка,...)
« Ответ #2614 : Июня 19, 2018, 10:21:16 »
Товарищи, спасайте! Очень нужна схема баса Ibanez Roadstar RB-824, Гугл не помог! :( Заранее спасибо!


Оффлайн rocknrollplayer

  • Эксперт
  • *****
  • Сообщений: 2251
  • Кот ДаВинчи
Re: Гитарная электроника (датчики, распайка,...)
« Ответ #2615 : Июля 02, 2018, 15:16:57 »
Подскажите, пожалуйста, есть такая схема:
http://www.dimarzio.com/sites/default/files/diagrams/RG1570mod4.pdf
как сделать, чтобы во 2 и 4 положениях отсекались внешние катушки? Если я правильно понимаю, нужно середину хамбакера закоротить с его сигналом? Только не совсем соображу, как на этом переключателе это сделать :rolleyes:
Дополнительно соединить 1й и 5й контакты (сигнал бриджа), а потом 3й и 7й (отпаяв 7й от корпуса) ? Может, я туплю, конечно

Оффлайн Vdm

  • Завсегдатай
  • ***
  • Сообщений: 336
Re: Гитарная электроника (датчики, распайка,...)
« Ответ #2616 : Июля 02, 2018, 17:50:26 »
Красные и зелёные выводы хамбов поменять местами.

Оффлайн rocknrollplayer

  • Эксперт
  • *****
  • Сообщений: 2251
  • Кот ДаВинчи
Re: Гитарная электроника (датчики, распайка,...)
« Ответ #2617 : Июля 02, 2018, 21:14:38 »
Vdm, извиняюсь за глупый вопрос: а не будет ли тогда противофазы со средним датчиком?

И ещё хотел спросить: можно ли в такую схему добавить переключатель нека в "параллельный режим", который работал бы только при одном включенном неке ?
« Последнее редактирование: Июля 02, 2018, 21:21:47 от rocknrollplayer »

Оффлайн Vdm

  • Завсегдатай
  • ***
  • Сообщений: 336
Re: Гитарная электроника (датчики, распайка,...)
« Ответ #2618 : Июля 03, 2018, 07:17:15 »
Да, тогда и выводы сингла надо менять. Или реверсный сингл заменить на простой.

Для встречно-параллельного соединения хамба можно поставить 2-секционный переключатель, но он будет работать в 2 положениях.



Оффлайн rocknrollplayer

  • Эксперт
  • *****
  • Сообщений: 2251
  • Кот ДаВинчи
Re: Гитарная электроника (датчики, распайка,...)
« Ответ #2619 : Июля 03, 2018, 19:47:05 »
Vdm, спасибо, про "нормальный" сингл как раз подумал, у меня их как раз три со страта осталось.
Для встречно-параллельного соединения хамба можно поставить 2-секционный переключатель, но он будет работать в 2 положениях.
С одним неком понятно, а в положении "нек+миддл" (нек в параллельном) - получается, три катушки параллельно будут?

Оффлайн Sunday

  • Эксперт
  • *****
  • Сообщений: 1799
  • Вечный пионер
Re: Гитарная электроника (датчики, распайка,...)
« Ответ #2620 : Июля 04, 2018, 13:12:28 »
Камрады, подкажите мне, горе-паяльщику, по отсечке.

На телекастеро-образной гитаре сейчас два датчика - в неке стоит сингл, в бридже хамбакер с возможностью отсечки, но отсечка никак не задействована. Хочу, собственно, задействовать  :) Есть желание сделать так, чтобы в среднем положении трёхпозиционника работал нековый сингл + одна из катушек хамбакера, чтобы было нефонящее положении с двумя одновременно работающими синглами. Так можно сделать? И если да, то как? Подскажите максимально простой вариант
« Последнее редактирование: Июля 04, 2018, 13:31:55 от Sunday »

Оффлайн Vdm

  • Завсегдатай
  • ***
  • Сообщений: 336
Re: Гитарная электроника (датчики, распайка,...)
« Ответ #2621 : Июля 04, 2018, 14:23:21 »
...три катушки параллельно будут?

Да, 3 впараллель. Из-за этого будет, возможно, самый тонкий звук в таком положении.


Оффлайн sv.dudnik

  • Завсегдатай
  • ***
  • Сообщений: 323
Re: Гитарная электроника (датчики, распайка,...)
« Ответ #2623 : Июля 11, 2018, 23:07:04 »
Камрады, подкажите мне, горе-паяльщику, по отсечке.

На телекастеро-образной гитаре сейчас два датчика - в неке стоит сингл, в бридже хамбакер с возможностью отсечки, но отсечка никак не задействована. Хочу, собственно, задействовать  :) Есть желание сделать так, чтобы в среднем положении трёхпозиционника работал нековый сингл + одна из катушек хамбакера, чтобы было нефонящее положении с двумя одновременно работающими синглами. Так можно сделать? И если да, то как? Подскажите максимально простой вариант
У меня 3-хпозиционник закрытого типа. Я его разобрал и оказалось что переделать его в 5-позиционник очень легко перевернув ротор. И к стандартным трем позициям добавил 4-одна обмотка бриджа + нек и 5-одна катушка бриджа.

Оффлайн Nuranand

  • Новичок
  • *
  • Сообщений: 2
  • GuitarPlayer.Ru fan!
Re: Гитарная электроника (датчики, распайка,...)
« Ответ #2624 : Августа 10, 2018, 20:53:29 »
Посоветуйте пожалуйста потенциометр. Готовлю гитару к продаже, а он шуршит и звук гасит не плавно. Хотя очень мало играл на ней. Похоже, что не ахти какая электроника идёт в стоке. Гитара Godin Exit 22 S Номеров на нём нет, непонятен производитель. Какой должен быть аналог? Желательно не дорогой.
Поцик справа