Автор Тема: Чтоб такое гитарное сотворить с ЛОМО КИНАП 90У-5 ?  (Прочитано 10918 раз)

0 Пользователей и 1 Гость просматривают эту тему.

Оффлайн tmnet Автор темы

  • Новичок
  • *
  • Сообщений: 8
Здравствуйте.
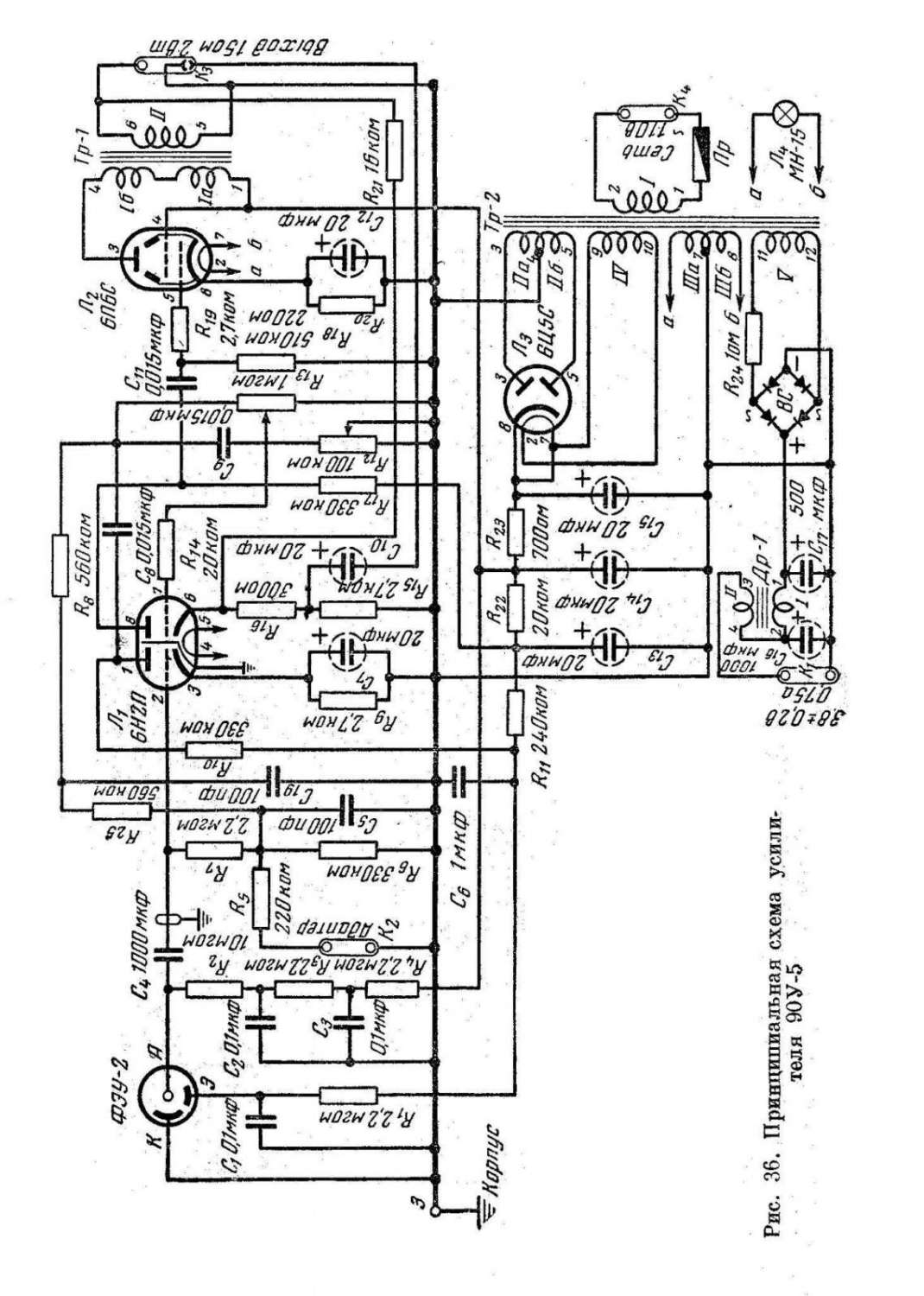
Подарили вчера 2шт.  ЛОМО КИНАП 90У-5. Состояние отличное. Похоже не включались ниразу. 
Хотелось бы сообразить гитарную голову SE. Играть будет в самодельный каб на Celestian Tube 10 (8 ом) ,имеется  еще 4а28 (16 ом) .
Поделитесь идеями по переделке этого советского чуда ламповой техники :)

 

 
« Последнее редактирование: Июля 08, 2012, 17:13:29 от tmnet »

Оффлайн Dying Fetus

  • Moderator
  • *****
  • Сообщений: 10310
  • DIYng Fetus
    • http://cathar.ru
tmnet, продай их, а на вырученные деньги купи деталей и собери чамп.

Оффлайн tmnet Автор темы

  • Новичок
  • *
  • Сообщений: 8
А собственно чего сразу - ПРОДАЙ ? Ведь чамп на 6п6с сделать можно. А тут готовое шасси, лампы 6П6С, 6Н2П, блок питания на кенотроне (правдвда транс силовой на 110 в , но это решаемо ).
Вопрос только в том подойдет ли выходной транс для гитарного звука ?

Оффлайн Vitallka

  • Эксперт
  • *****
  • Сообщений: 1175
  • Антиум
Разобрать, оставить ламповые панельки, панельки для навесного монтажа, лампы, дроссель и еще некоторые резисторы ВС, если подойдут по номиналу. Под 8 Ом выходной трансформатор надо перематывать. И корпус оставить - он там оригинальный довольно. Добавить недостающих деталей и собрать что-то путнее

Оффлайн tmnet Автор темы

  • Новичок
  • *
  • Сообщений: 8
А может  транс выходной не перематывать ?
При коэфициенте трасформации 18,5 и  нагрузке 8 ом Raa получается 2738  - 
вполне для 6П3С или две 6П6С в парралель взять  ? (как в Cossak A15 MK I http://guitar.ru/articles/make/do-it-yourself_332.html )

Оффлайн Vitallka

  • Эксперт
  • *****
  • Сообщений: 1175
  • Антиум
В выходнике первичка расчитана под ток 40 мА, а если запараллелить 2 6п6с, то там явно в 40 мА не влезешь. Если там вторичка поверху намотана, то можно смотать и намотать более толстым проводом нужное количество витков.  Если не хочешь мотать, то используй 4а28 - для чистого вполне нормальный звук дает
« Последнее редактирование: Июля 08, 2012, 19:11:45 от Vitallka »

Оффлайн tmnet Автор темы

  • Новичок
  • *
  • Сообщений: 8
Ок. Завтра после работы займусь препарированием одного из "пациентов"  ;D

Оффлайн плюшкин

  • Завсегдатай
  • ***
  • Сообщений: 334
tmnet, подключал хоть как есть?  а то может оказаться что в результате переделки будет тжс, только фону добавится)) для чистоты эксперимента 8 ом динамик можно подключить через резистор 8 ом /5-10 какой есть/, а потом уж отматывать половину вторички или ставить от телека.

Оффлайн oxigen

  • Эксперт
  • *****
  • Сообщений: 1407
  • Если нельзя, но очень хочется, то можно
Так просто вторичку там не отмотать - секционирование обмоток П-В-П. Втыкайся для проверки так, только ФЭУ2 вытащи. Потом повыкусываешь лишнее до вывода 2 лампы Л1.

Оффлайн плюшкин

  • Завсегдатай
  • ***
  • Сообщений: 334
Читал, что если на каркасе есть место - домотать нужное количество и включить в противофазе, не пробовал, почему-то кинаповские однотакты не попадались. двухтактные на 110в включали через конденсаторы в 220, в момент включения лампы ярко загорались, потом напряжение падало и усь работал, и так два года, сто лет назад, в армии).
 Получается домотать около 60 витков 0,55, один ряд - 3-3,5см.

Оффлайн Weiss

  • Эксперт
  • *****
  • Сообщений: 1256
  • ну... как-то так
Читал, что если на каркасе есть место - домотать нужное количество и включить в противофазе, не пробовал, почему-то кинаповские однотакты не попадались. двухтактные на 110в включали через конденсаторы в 220, в момент включения лампы ярко загорались, потом напряжение падало и усь работал, и так два года, сто лет назад, в армии).

О как!А почему включение-то в противофазе?Конец предыдущей обмотки должен соединяться с началом следуюющей :)

Оффлайн плюшкин

  • Завсегдатай
  • ***
  • Сообщений: 334
шоб из 15 ом получить 8ом!) oxigen подметил, что первичная из двух частей, вторичная между половинок, не отмотаешь быстро. где-то была идея в такой ситуации намотать часть обмотки и включить в противофазе, минут за 15 можно домотать метров пят-семь/витков 50 хоть/, и попробовать. как проверить что получилось -  я-бы, подав генератор, померял мощность на имеющемся у ТСа 4а28/или резисторе 16 ом/ и подключив новую обмотку /н-к-к-н/ померял сколько там на 8 ом. если непонятно начало-конец вторички - подключить в двух комбинациях. кто инженера мож поправят))


Оффлайн tmnet Автор темы

  • Новичок
  • *
  • Сообщений: 8
Вчера удалось выкроить немного времени.

Включил усилок через автотрансформатор на 110 вольт. ФЕУ и сопутствующие цепи убрал. На сетку подал сигнал от плеера , нагрузил усил на 4А28 (16ом). Звук получился специфический - низов/ верхов маловато одна середина.  Но в целом звучит не так уж и плохо :).

Я  немного "разобрал" выходной трансформатор :) Отогнул щечку каркаса и выяснилось , что вторичка имеет 3 слоя.  Тоесть можно поддеть верхний виток и разделить обмотку на две части. Если б удалось поделить обмотку точно на 2 части, то можно включить их парралельно и получить выходную нагрузку в 8 Ом.

Немного приостановил работы по причине отсутствия времени - выехал в горы на объект ( занимаюсь слаботочными сетями ).
Приеду с командировки - продолжу.

Оффлайн Vitallka

  • Эксперт
  • *****
  • Сообщений: 1175
  • Антиум
Для 8 и 16 Ом количество витков вторички отличается не в 2 раза, а в 1,4 раза, поскольку
Ra/Rн=КПД*n12/n22

Оффлайн Виталий Константинов

  • Новичок
  • *
  • Сообщений: 3
  • GuitarPlayer.Ru fan!
Привет, Всем!!!!!  8)  Лежит у меня такой без дела. 110 вольтный, ламповый моно усилитель 90У-5, от киноустановки "Украина"  :)
Подавал на аудио вход ламповичка: гитарный процессор, звуковую карту, мобильник, всё вподряд. Работет до сих пор, ничего не перепаивал!

Автор Л. Борисов город Омск, улучшил характеристики звучания этого усилителя.
Улучшение звучания кинотеатрального лампового усилителя 90У-5 ЛОМО, из комплекта переносного звуковоспроизводящего устройства КПУ-52

http://www.magictubes.ru/ves/peredel1.htm