Автор Тема: как и куда правильно устанавливается дроссель (choke)?  (Прочитано 1907 раз)

0 Пользователей и 1 Гость просматривают эту тему.

Оффлайн tiretrak Автор темы

  • Эксперт
  • *****
  • Сообщений: 1368
допустим на примере 5150  или жсм 800
« Последнее редактирование: Июня 03, 2011, 14:18:45 от tiretrak »

Оффлайн kynep

  • Ветеран форума
  • ******
  • Сообщений: 6828
  • Руби МиТоЛ!!!
А по схеме глянуть, не?


Оффлайн tiretrak Автор темы

  • Эксперт
  • *****
  • Сообщений: 1368
а в 5150 ?
я так понимаю ,вместо резистора R210  самое оно?

Оффлайн Dying Fetus

  • Moderator
  • *****
  • Сообщений: 10310
  • DIYng Fetus
    • http://cathar.ru
tiretrak, yes

Оффлайн tiretrak Автор темы

  • Эксперт
  • *****
  • Сообщений: 1368
спасиб)

Оффлайн kynep

  • Ветеран форума
  • ******
  • Сообщений: 6828
  • Руби МиТоЛ!!!
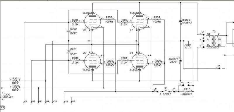
tiretrak, ты не ту схему показываешь, покажи блок питания а не оконечник. Куда идут J14 и J15.

Оффлайн runing

  • Живу на форуме
  • *******
  • Сообщений: 12572
  • Киев
Dying Fetus, в общем то в гитарниках дроссель включается начиная со вторых сеток. Ты же предлагаешь перед анодами  :hmmm:
Там большой ток, да и звук может измениться.

Оффлайн tiretrak Автор темы

  • Эксперт
  • *****
  • Сообщений: 1368
tiretrak, ты не ту схему показываешь, покажи блок питания а не оконечник. Куда идут J14 и J15.
J14 -J63 ,а это Plate
J15 -J62 ,а это Screen

на J72 и J73 идет переменка 370 вольт
« Последнее редактирование: Июня 01, 2011, 14:05:31 от tiretrak »

Оффлайн anton_fazer

  • Завсегдатай
  • ***
  • Сообщений: 474
  • CBR1100XX
runing, скорее всего из-за большого тока его перед анодами и не ставят, т.к. дроссель вырастет до гигантских размеров. Да и смысла особо нет, там насколько я понимаю выходным трансом все фильтруется.

Оффлайн runing

  • Живу на форуме
  • *******
  • Сообщений: 12572
  • Киев
anton_fazer, так я об этом и говорю, что Dying Fetus не правильно рекомендует.

... и добавил:

tiretrak, ты можешь нормальную схему приаттачить?
« Последнее редактирование: Июня 01, 2011, 14:27:46 от runing »

Оффлайн Dying Fetus

  • Moderator
  • *****
  • Сообщений: 10310
  • DIYng Fetus
    • http://cathar.ru
каюсь - грешен, не туда посмотрел  :rolleyes:

Оффлайн tiretrak Автор темы

  • Эксперт
  • *****
  • Сообщений: 1368
Цитировать
tiretrak, ты можешь нормальную схему приаттачить?
pdf пойдет ?

Оффлайн tiretrak Автор темы

  • Эксперт
  • *****
  • Сообщений: 1368
anton_fazer, так я об этом и говорю, что Dying Fetus не правильно рекомендует.
а как правильно?

Оффлайн kynep

  • Ветеран форума
  • ******
  • Сообщений: 6828
  • Руби МиТоЛ!!!
Нужно ставить после Анодов, перед вторыми сетками. По схеме я нифига не понял, она у меня открывается боком, монитор крутить не хочу.  :crazy: :rolleyes:

Оффлайн tiretrak Автор темы

  • Эксперт
  • *****
  • Сообщений: 1368
Нужно ставить после Анодов, перед вторыми сетками. По схеме я нифига не понял, она у меня открывается боком, монитор крутить не хочу.  :crazy: :rolleyes:
сделай плиз скриншот  с точками куда врубать choke