Приветствую, Уважаемые гитарплейеры!
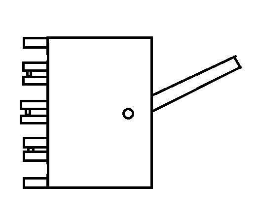
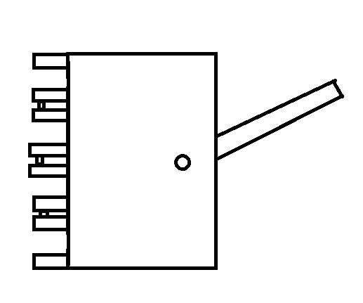
Помогите начинающему, пожалуйста. Имеется вот такой трехпозиционник, крайние две клеммы одинарные, а те шесть, что в середине, замкнуты попарно перемычками.
Примерно вот так)

Хочу прикрутить к нему сингл и хамб и потенциометр громкости, тон не нужен. Что куда припаивать?
Заранее благодарен, всем бобра!