Голосование

Какой эмулятор усилителя и кабинета Вы купите у AMTelectronics?

Pangaea CP-100FX – эмулятор с эффектами как есть сейчас
103 (28.5%)
Pangaea CP-100FX – возможность подключать внешние эффекты, плюс возможность включиться через стерео вход, минуя эффекты Pangaea, получив эмуляцию 2-х усилителей и 2-х кабинетов
59 (16.3%)
Pangaea Emulator Dual – убрать эффекты и оставить только эмуляторы усилителей и кабинетов для стерео сигнала (два независимых канала)
58 (16.1%)
Pangaea Emulator SoundMax – убрать эффекты оставить один канал и использовать всю мощь компонентов для максимальной, детальной эмуляции усилителя и кабинета (личное мнение)
141 (39.1%)

Проголосовало пользователей: 360

Автор Тема: AMT Pangaea CP-100FX новый эмулятор гитарного кабинета и не только  (Прочитано 521108 раз)

0 Пользователей и 1 Гость просматривают эту тему.

Оффлайн Alexей

  • Новичок
  • *
  • Сообщений: 18
  • GuitarPlayer.Ru fan!
Ну, кому что...  Уже говорил, что я брал пангею с учётом того функционала, что в ней был заложен. и пользуюсь огромным её функционалом. Кто то на эффекты жаловался, что мол не бывает чтоб всё и "хорошо", но тем не менее Nova Deley после приобретения пангеи - пылится, ( я даже сравнение выкладывал в эту тему ) хороший делей , но в нём нет фильтров, как в пангее, а для меня они оказались важными, ну и мне нравиться как они работают. Кто то был против s-pdif, а я только им и подключаюсь, короче, не понимаю я тех кто жалуется, что прибор может слишком многое, вот вообще логики не вижу  ??? . Стас сделал копрессор и гейт, да можно было и без них, но ёлы палы, я ими пользуюсь, и они меня устраивают Более чем. Квакушку я вроде не хотел, но вчера, например,  наяривал на ней и радовался.  Спору нет, контроллер решает, как и в любом подобном девайсе. Но пока я на ней не "танцую" , пользую прессеты. не знаю, что вас заставляет по ней "танцевать"? Без шуток. Поясните?

Возможно я не так выразился, за что заранее извиняюсь.

В данный момент - все прекрасно, скачу по пресетам довольный как слон без лишних телодвижений, но вот отдавать одну кнопочку полностью под луп не готов. Может просто я еще не придумал как это сделать. В моем представлении, подобно эффектам требующим педаль экспрессии, лупер требует своих loop, stop, undo, redo. В любом случае, еще раз повторю - я не против, я только за. Я не недоволен, я тут только потому что всем доволен и при отсутствии подробного мануала не нашел лучше ресурса по изучению прибора, но проявил слабость выказав свою точку зрения, а она созрела вот на основе чего:

занимался не так давно темой выбора лупера и пришел к выводу, что однокнопочный самый простенький лупер с кучей overdub сильно ограничивает в построении композиции. Наличие количества эффектов при их столь гибкой настройке - здесь прям просится мультитрек лупер, хотя бы на 2 трека, а отсих уже мое имхо. (почему-то мне кажется, что если и будет возможность воткнуть лупер, то может чего-нибудь поинтересней, чем самая простая его реализация). Есть же еще вопрос о возможности сохранения лупов ну и т.д. по списку. С другой стороны есть осознание того, что все-таки это IR проигрыватель в первую очередь, а все остальное уже потом.

В чем минус: мы пока не знаем , реализуем ли лупер вообще, а уже развели дискуссию. Каюсь, раззадорил.

Итого: любой лупер плюс; у каждого свое видение его использования.
Надо призывать тех. спецов и слушать их мнения и возможности, а там уж можно в разумных пределах подискутировать про свои нужды :)
для себя проблему вижу только в компактном более 2> кнопок миди контроллере, коих нет у амт, но это вопрос не сюда и сугубо мои личные извращения.

Оффлайн BaZZiK

  • Завсегдатай
  • ***
  • Сообщений: 418
В чем минус: мы пока не знаем , реализуем ли лупер вообще, а уже развели дискуссию. Каюсь, раззадорил.
  :alc:   

  Вообще , я думаю так: я купил пангею, с тем функционалом, что был и требовать чего то не могу. Так, что я ей доволен в таком виде в каком она сейчас. Новым функциям безумно рад. А благодаря такой поддержке - смотреть на сторонние девайсы даже не думаю. Как уже говорил:  лучше уж высказывать "хотелки", даже самые на первый взгляд абсурдные, быть может они найдут отклик в других версиях прибора, ( например в следующей версии я бы хотел релейный выход на FS преампов), а может и вообще в "горячке" кто то чего то захочет .... , а разработчики уже сами решат - быть или не быть.
 Лично мне видится лупер таким: Простой, для случая когда играешь, пошло настроение, придумал какой то риф ( аккорды ), мелодию, тут же это зафиксировать, пока муза не убежала ))  зажимаешь 2 кнопки, пангея в режиме лупера, крутилка confirm - громкость лупа. кнопки "confirm" и "up"  - стандартное управление как, например, в BOSS RC 30. а кнопа "down" выход/вход в режим пресета, для редактирования.   
 А раздельные лупы, барабаны, это уже глубокая разработка. хотя и её можно реализовать, нажал на колесо confirm то уже крутишь громкость барабанов или 2 го, 3 его лупа. А при это есть кнопки 1,2,3,4,5. Для всяких  темпов, или выбора дорожки.  Ну это уж меня совсем понесло...
« Последнее редактирование: Декабря 07, 2016, 14:24:56 от BaZZiK »

Оффлайн Stonetalker

  • Эксперт
  • *****
  • Сообщений: 1518
  • Булыгин Алексей
Да... Малое количество кнопок в Пангее при всем многообразии эффектов - камень преткновения.  :) А я таки решил реализовать схему, предложенную мной же несколькими страницами ранее и прикупил на вторичном рынке за половину цены мидиконтроллер с 12 кнопками плюс расширение к нему для управления петлями от BJ Devices. Теперь Drive-каналы преампа и грелка включаются с контроллера (да и вообще всё управление теперь за ним), Clean-канал - преамп Пангеи, все эффекты Пангеи можно разом использовать в рамках одного пресета (каждый назначен на свою кнопку), а кнопки Пангеи теперь не использую вообще. Вся эта кухня умещается в чехол от Line6 HD500.  ;) И больше никаких танцев по педалям.  8) Вот теперь моя душенька довольна.  :)

... и добавил:

В личке и в ВК-группе BJ Devices интересуются как всё это работает. А вот так:

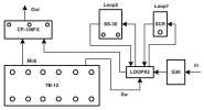
Схема коммутации ниже. Как это работает? В преампе (SS-30) используется только Drive-канал. Clean - преамп Пангеи (по звучанию он мне больше нравится, чем чистый канал SS-30). Контроллер настроен таким образом, что при нажатии одной кнопки (пресет 1) включается преамп Пангеи и одновременно отключается петля с SS-30, а при нажатии второй кнопки (пресет 2), преамп Пангеи отключается и включается петля SS-30. Грелка (Screamer) включается вместе с SS-30 при нажатии третьей кнопки (пресет 3). Т.е. схема эффектов такая:

1. CLEAN: Pangaea preamp (clean) —> Pangaea effects —> Line/Amp,
2. CRUNCH: SS-30 (drive) —> Pangaea effects —> Line/Amp,
3. LEAD: Screamer —> SS-30 (drive) —> Pangaea effects —> Line/Amp.

В Пангее перед преампом находятся эффекты: Wah и Compressor, поэтому при данной схеме возможно использование например такой последовательности:

4. CLEAN WAH: Pangaea Wah —> Pangaea preamp (clean) —> Pangaea effects —> Line/Amp.

Вообще мидиконтроллер изначально приобретался для управления исключительно Пангеей, но потом пришла мысль управлять с помощью него всем остальным и был приобретен маршрутизатор петель.
« Последнее редактирование: Декабря 08, 2016, 09:36:21 от Stonetalker »

Оффлайн WALLY

  • Живу на форуме
  • *******
  • Сообщений: 8710
Stonetalker, Почему не купил контроллер с педалью экспрессии?

Оффлайн Stonetalker

  • Эксперт
  • *****
  • Сообщений: 1518
  • Булыгин Алексей
Stonetalker, Почему не купил контроллер с педалью экспрессии?

Во-первых потому, что TB-11P стоит более чем в 2 раза дороже (на вторичке они пока практически не попадаются), чем сумма в которую мне обошелся TB-12. Во-вторых, педаль экспрессии у меня уже есть. В-третьих, я заметил, что на эффектах типа Wah (и прочих с перестройкой педалью) мне несколько удобнее играть, когда они стоят отдельно за пределами педалборда. И в-четвертых, TB-11P просто не поместился бы в мой педалборд, что влекло за собой дополнительные расходы на изготовление нового и сумки к нему.  :)

Оффлайн WALLY

  • Живу на форуме
  • *******
  • Сообщений: 8710
Stonetalker, Ясн, осталось только фоточку заменить на более актуальную ;D

Оффлайн Stonetalker

  • Эксперт
  • *****
  • Сообщений: 1518
  • Булыгин Алексей
Stonetalker, Ясн, осталось только фоточку заменить на более актуальную ;D

Точно! Самое главное - и забыл!  ;D  :i_am_so_happy:

Оффлайн True Divaner

  • Ветеран форума
  • ******
  • Сообщений: 4048
  • перегруZофил
Stonetalker, не думал заменить SS-30 на LA1 или LA2 раз уж пользуешся клином Пангии? Размеры то поменьше будут, да и с питанием попроще. :)

Оффлайн Stonetalker

  • Эксперт
  • *****
  • Сообщений: 1518
  • Булыгин Алексей
Stonetalker, не думал заменить SS-30 на LA1 или LA2 раз уж пользуешся клином Пангии? Размеры то поменьше будут, да и с питанием попроще. :)

Думал, но нет возможности пощупать и послушать LA. К тому же в Булаве 2 драйв-канала, а это плюс. Можно настроить и легкий кранч, и солидный хайгейн.  :)

... и добавил:

А с питанием полный порядок: контроллер и Пангея питаются от АМТ-шного БП на 12V 1,2А, а остальные педали от АМТ-шного же БП на 18V, 2А через распределитель напряжений (18V, 12V, 9V). Сегодня вечером как раз собирался покумекать над блоками питания, чтобы они были закреплены на педалборде, а сетевой кабель от них шел один и отстегивался при желании. Сделаю - скину фотки.  ;)


... и добавил:

И куда пропал Стас Волков? А то вопрос с педалью экспрессии в воздухе повис.  :)



upd: Добавил фото. Использовал насадки для китайских розеток, шедшие в комплекте с блоками питания (хорошо что не выкинул в свое время).
« Последнее редактирование: Декабря 09, 2016, 07:47:21 от Stonetalker »

Оффлайн StasVolkov

  • Эксперт
  • *****
  • Сообщений: 1185

..Стас Волков на гастролях 5 тый день..:)..послезавтра буду дома - займусь!

Оффлайн Stonetalker

  • Эксперт
  • *****
  • Сообщений: 1518
  • Булыгин Алексей
Гастроли - это святое!  :good:

Оффлайн WALLY

  • Живу на форуме
  • *******
  • Сообщений: 8710
А что, у кого то есть ссылочки на видос с командой Стаса Волкова - хочется полюбопытствовать :rolleyes:

Оффлайн StasVolkov

  • Эксперт
  • *****
  • Сообщений: 1185
А что, у кого то есть ссылочки на видос с командой Стаса Волкова - хочется полюбопытствовать :rolleyes:
..:))..ну зачееем..я не думаю что гитарной тусе это будет интересно..;)

Оффлайн WALLY

  • Живу на форуме
  • *******
  • Сообщений: 8710
..:))..ну зачееем..я не думаю что гитарной тусе это будет интересно..;)
Жадина-говядина

Оффлайн MarichevS

  • Ветеран форума
  • ******
  • Сообщений: 3610