Автор Тема: Общие (технические) вопросы по звукоснимателям и их секреты  (Прочитано 301616 раз)

0 Пользователей и 1 Гость просматривают эту тему.

Оффлайн Фокин Илья Автор темы

  • Ветеран форума
  • ******
  • Сообщений: 3517
  • Fokin Pickups
    • Звукосниматели Fokin pickups
Есть такой еще вопрос. т к хочу разобраться окончательно:
хамбакер
одна катушка юг. а вторая север.
но намотаны они в одну сторону?
именно по этому мы и соединяем конец обмотки одной с началом обмотки другой.
т е вопрос
 намотаны они в одну сторону?
Обычно катушки мотаются в одну сторону, соединяются между собой внешние концы, тогда будет и вычитание шума и складывание сигнала.

Оффлайн Санёк)

  • Новичок
  • *
  • Сообщений: 63
прошу прощения за вопрос, наверно уже встречалось,

изменится ли звук если поменять местами все + и - , идущие от всех датчиков к темброблоку?

дело в том что на страте SSH поменял пикгард на металлический, а хамб его касается своим металлическим задом - и получается короткое -  и звука от этого нет. если поменять местами + и -   -- то рабортает нормально, но есть такое чувство, что звуковые характеристики меняются.

и может ли это уменьшить наводки? такое чувство что наводок стало меньше (до этого пикгард тоже был с экраном, но не к чему не припаянным).

подскажите, я в недоумении.
« Последнее редактирование: Января 27, 2019, 16:03:55 от Санёк) »

Оффлайн DenRec

  • Эксперт
  • *****
  • Сообщений: 1502
Подскажите кто в теме, плз. Нужно пояснение по свичу gotoh 3-way (Japan). Как правильно распознать контакты такого переключателя, где общий сигнал, где бридж, нек и мидл? Нужно распаять два хамбакера.

(нажмите чтобы показать/спрятать)

... и добавил:

Японские переключатели отличаются от американских по расположению контактов, насколько я понял..

... и добавил:

надеюсь в этой теме такие вопросы обсуждаются, а не только по датчикам.
« Последнее редактирование: Января 28, 2019, 07:38:29 от DenRec »

Оффлайн Фокин Илья Автор темы

  • Ветеран форума
  • ******
  • Сообщений: 3517
  • Fokin Pickups
    • Звукосниматели Fokin pickups
прошу прощения за вопрос, наверно уже встречалось,

изменится ли звук если поменять местами все + и - , идущие от всех датчиков к темброблоку?

дело в том что на страте SSH поменял пикгард на металлический, а хамб его касается своим металлическим задом - и получается короткое -  и звука от этого нет. если поменять местами + и -   -- то рабортает нормально, но есть такое чувство, что звуковые характеристики меняются.

и может ли это уменьшить наводки? такое чувство что наводок стало меньше (до этого пикгард тоже был с экраном, но не к чему не припаянным).

подскажите, я в недоумении.
Звук поменяется, за счет изменения нагрузки, не кардинально, но на слух может быть заметно, в некоторых случаях.

Оффлайн AZG

  • Живу на форуме
  • *******
  • Сообщений: 95678
  • Санкт-Петербург
    • AZG CUSTOM
DenRec, Так там все предельно просто. Смотришь какой контакт длинный, тот общий. Остальное по расположению переключателя, перещелкиваешь и смотришь какие контакты замыкаются в требуемом положении. 

Оффлайн DenRec

  • Эксперт
  • *****
  • Сообщений: 1502
AZG, Спасибо. Чтобы в среднем положении работали парой хамбы нужно бридж с мидлом спаять и нек с мидлом спаять? Вроде так должно быть...

Оффлайн AZG

  • Живу на форуме
  • *******
  • Сообщений: 95678
  • Санкт-Петербург
    • AZG CUSTOM
DenRec, Если просто два хамба, то да, попарно паять ламели средний и крайний в зависимости от положения.

Оффлайн DenRec

  • Эксперт
  • *****
  • Сообщений: 1502
AZG,  :alc: Понял, спасибо

Оффлайн rocknrollplayer

  • Эксперт
  • *****
  • Сообщений: 2251
  • Кот ДаВинчи
Здравствуйте, подскажите, что будет предпочтительнее поставить на липу семиструнку (Ibanez RG 7620) ? В своё время пробовал DiMarzio Blaze а также CruchLab + Liquifire, сейчас хочется попробовать что-то кроме Димарзио :) Судя по демкам Fokin Uppercut мне немного напомнили Блейзы - или я ошибаюсь? ???

Оффлайн Фокин Илья Автор темы

  • Ветеран форума
  • ******
  • Сообщений: 3517
  • Fokin Pickups
    • Звукосниматели Fokin pickups
Здравствуйте, подскажите, что будет предпочтительнее поставить на липу семиструнку (Ibanez RG 7620) ? В своё время пробовал DiMarzio Blaze а также CruchLab + Liquifire, сейчас хочется попробовать что-то кроме Димарзио :) Судя по демкам Fokin Uppercut мне немного напомнили Блейзы - или я ошибаюсь? ???
Большая просьба в этой теме не задавать вопросы типа " а подойдет ли датчик такой-то модели, для такой-то гитары, это тема не для этого. Здесь мы обсуждаем технико-физическую сторону вопроса, конструкцию датчиков итп.

Оффлайн Simple

  • Опытный
  • ****
  • Сообщений: 912
Здравствуйте,
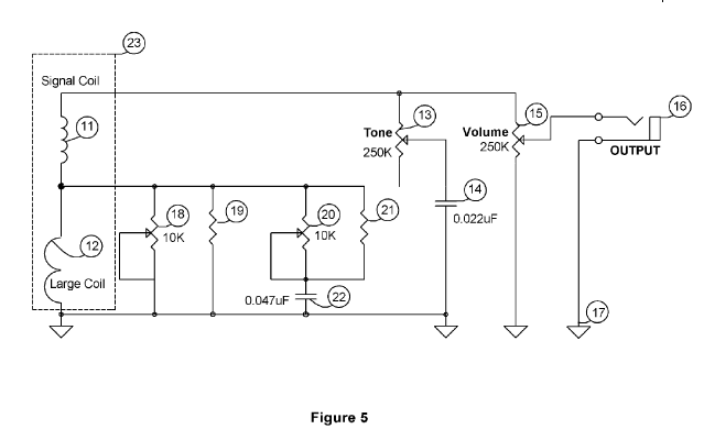
Есть известная схема для подавления шума синглов ( например приведена здесь: http://www.freestompboxes.org/viewtopic.php?f=3&t=10180 ) Там есть 2 сопротивления без номиналов - элементы 19 и 21. Какие у этих элементов должны быть номиналы и от чего они зависят?

« Последнее редактирование: Февраля 06, 2019, 12:31:07 от Simple »

Оффлайн Дмитрий Карпухин

  • Опытный
  • ****
  • Сообщений: 813
    • АудиоFenix
Где-то тут Илья писал - что обычно у хамбекеров и синглов на катушках с однаковой полярностью намотки в разную сторону. В случае с Seymour Duncan это не подтвердилось. Поставил в нек сингл SSL-1 а в бридж хамб TB-4, других звучков нет. Отсеченная северная катушка бриджа + южный сигл в неке дали шумоподавление без переворота проводов сингла.

Это так для справки, тем кто так-же планирует делать.

И это логично, то есть чтоб собрать классический HSS например (с отсечкой), берутся обычные хамбекер, сингл и один RWRP в нек и паяется по схеме не мудря с разворотами проводов, по крайней мере у SD. А кому вообще пришло в голову делать не так? Это специально чтоб людей запутывать?

Ну и схемку свою прицеплю, может кому пригодится.
« Последнее редактирование: Февраля 06, 2019, 12:39:40 от Дмитрий Карпухин »

Оффлайн vulf

  • Живу на форуме
  • *******
  • Сообщений: 8458
  • Тута девки живут, нами еще не мятые
Где-то тут Илья писал - что обычно у хамбекеров и синглов на катушках с однаковой полярностью намотки в разную сторону.
Илья такого  никогда не писал.

Оффлайн Дмитрий Карпухин

  • Опытный
  • ****
  • Сообщений: 813
    • АудиоFenix

Оффлайн vulf

  • Живу на форуме
  • *******
  • Сообщений: 8458
  • Тута девки живут, нами еще не мятые
не вроде, а с точностью, да наоборот.
он говорил, что намотки в одну сторону, но магниты разнополярные.

т е север и юг намотаны в одну сторону

а сеймор что то всегда мудрил.  вот с димарзио более...естественно  8)